八钢265 m2烧结机工程设计特点
浏览:次|评论:0条 [收藏] [评论]
八钢265 m2烧结机工程设计特点 崔胜利 李东林 (宝钢集团新疆八钢公司烧结分厂) 摘要 介绍了八一钢铁公司2号265 m2烧结机工程的设计特点,包括总图布置、工艺流程、没备选…
八钢265 m2烧结机工程设计特点
崔胜利 李东林
(宝钢集团新疆八钢公司烧结分厂)
摘要 介绍了八一钢铁公司2号265 m2烧结机工程的设计特点,包括总图布置、工艺流程、没备选型、采用的新技术、自动化水平及环境保护措施等。
关键词 烧结工程 烧结机设计 混合制粒 烟气脱硫
1 概 况
新疆八一钢铁公司烧结分厂B265 m2烧结机是八钢1000万t规模的配套项目之一,该工程是在对国内同类型烧结机进行充分考察和技术经济比较,同时考虑场地、物料平衡等因素,在总结八钢一期烧结机设计、生产、建设经验的基础上设计建设的。所采用的技术成熟,装备先进,环保节能。该烧结机于
2 工艺设计特点
2.1总图布置及流程
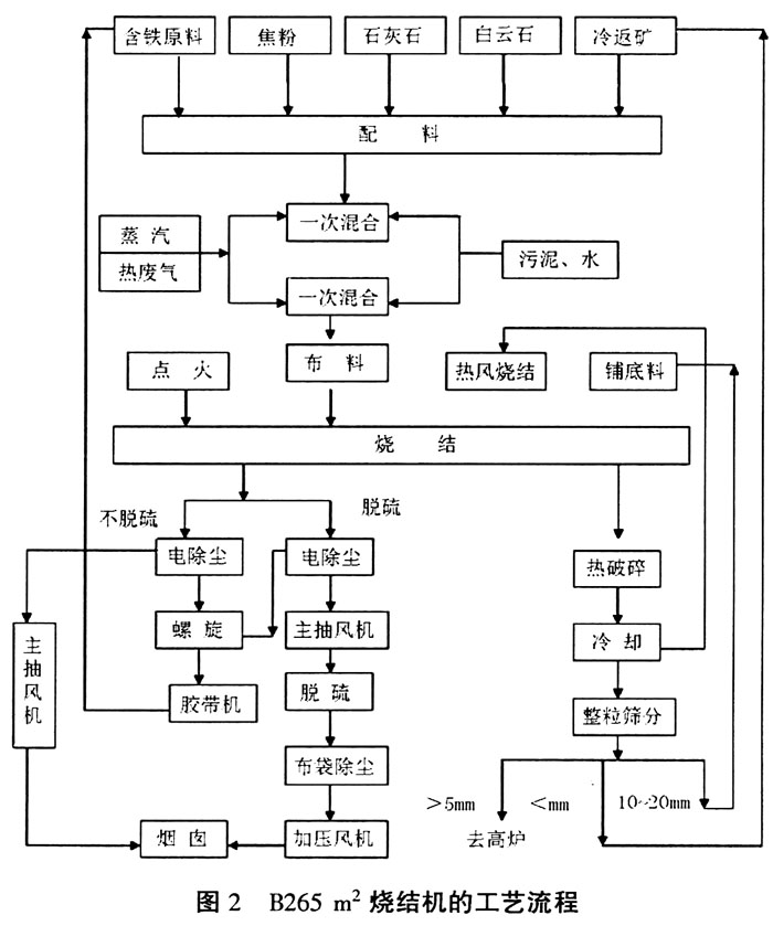
八钢B265 m2烧结机主机系统利用A265 m2烧结机设计时预留好的烧结系统空间进行建设。由于受新区高炉、焦炉地形和铁路、公路及料场等场地空间限制,在总图布置中,尽量减少占地面积,整个工艺流程沿A265 m2烧结机外围同向布置。混匀料上料、铺底料和返矿及除尘灰放灰系统改造后。与A265 m2烧结机共同使用。烧结矿的分级及冷却仍采用环冷机和无热筛(无热返矿)等工艺,因此,整个工程的占地面积与同类工程相比节省了50%,见图l。烧结工艺流程包括:熔剂破碎、燃料破碎、自动配料、两段混合、烧结、热破、冷却、烧结矿分级筛分、成品储存和运输、预留烧结机烟气脱硫等,如图2所示。
2.2强化混合机造球
为强化造球效果,混合机的设计具有以下特点:
1)延长混匀、造球时间。一二段混合采用4000 mm×20000 mm混合机,筒体安装倾角为2.29°,转速6.7 r/min,每段混合时间为4 min。
2)混合机内衬选型上强调造球效果,一次混合机内壁安装稀土尼龙衬板,同时根据不同部位衬板所起的作用不同,分别采用了三种类型的衬板。进料端采用了带扬料筋的稀土尼龙衬板,以加强混匀效果,同时防止机头漏料;配水、混合段采用光面衬板,防止筒壁粘料;出料端采用具有强力造球作用的衬板,以提高混合机的成球效果。二次混合机内衬则采用表面具有凹坑的特殊稀土尼龙衬板,既可提高造球效果,又能防止粘料。
3)一次混合采用自动配水技术:采用一套微机控制的单探头红外测水仪进行一次混合自动加水控制。红外探头安装在一混出料口的胶带机上,所测得的混合料水分信号经过变送后(4~20 mA信号)送入DCS系统。DCS系统则根据混合料的量和水分目标值进行控制运算,然后产生一个控制信号控制电液动调节阀,调节加水量的大小,使混合料的水分稳定在设定的范围内。采用自动加水控制系统后,既减少了工人的劳动强度,又减少了由于人工操作误差带来的混合料水分波动,同时还减少了岗位的定员。
2.3采用蒸汽、热废气预热混合料技术
1)一次混合加水采用蒸汽加热的污泥取代常温水,用热污泥消化生石灰,既提高了生石灰的消化效果,也可提高料温,同时节约资源。
2)向二段制粒机内鼓入600℃左右的煤气燃烧产生的热废气,同时向混合机内喷射蒸汽,以提高混合料的料温。
3)制作了一台每小时能产生4万m2热废气(600℃)的热废气炉,将热废气引入一、二段混合机,以提高混合料的温度。
2.4取消热筛工艺
取消热筛工艺主要基于以下几点考虑:
1)热矿筛因工况条件恶劣,故障率高,影响设备作业率。
2)混合料的料温可以通过蒸汽和热废气得到解决。
3)烧结矿多一道筛分使得返矿率增加。
2.5余热利用
环冷机冷却烧结矿所产生的热废气主要有三部分用途,一部分借助自然风压鼓入烧结机机头进行热风烧结,一部分抽入烧结主烧楼00平面的除尘风管借此提高室温,一部分鼓入配料室提高配料室的温度。
3 主要设备设计特点
3.1烧结机本体
3.1.1 烧结机台车
265 m2烧结机选用了新型结构的台车,其宽度为3.5 m,长1.5 m,栏板高度为700 mm,台车运行速度为1.1~3.3 m/min。台车车体采用低硫高球化的专用球墨铸铁铸造,为避免车体热变形,铸造时严格控制其延伸率和球化率,较好的改善了台车车体的热变形。台车动滑板的密封形式采用双“S”形不锈钢密封板,解决了烧结机的主要漏风问题。台车篦条采用高铬耐热铸铁精密铸造,借鉴一期台车篦条出现的问题,二期对台车篦条的尺寸进行了修改,修改后的使用效果比较满意。
3.1.2烧结机
烧结机传动装置采用半悬挂式的柔性传动,其重量轻,传动效率高,矫偏性能好。给料装置采用摆头皮带和九辊布料器相结合,有利于偏析布料。机尾采用水平移动架和旋转灰斗,有效吸收台车热变形,彻底解决了机尾积灰问题。头尾密封采用磁性密封,可在台车与密封板之间吸附一层细小的烧结矿粉,加强密封效果。烧结机润滑采用智能干油集中润滑系统,为机头、机尾所有的轴承和滑道提供润滑油脂。采用特殊形式的烧结机尾部弯道,杜绝了传统带式烧结机运行过程中不可避免的“锯齿”现象。
3.1.3 点火器
采用中冶长天公司研制的高效节能双斜式点火器,该点火器具有结构简单,烧嘴寿命长,不易堵塞,沿台车宽度方向料面点火均匀、表面点火质量好,烧结矿成品率高、煤气消耗量低等特点。借鉴一期烧结点火器的经验,二期点火器减少了一排烧嘴。
3.2烧结矿冷却设备
采用新型结构、厚料层的鼓风式环冷机。由于没有热筛工艺,因此按照1.2∶1的冷烧比设计风量。同时考虑一期280 m2环冷机的冷却效果不太理想,二期设计时将环冷机的面积扩大到360 m2。卸料溜槽下设链板机,在环冷机的头部安装了测量料温的温度传感器和相应的控制系统,可以根据烧结矿的温度和料层变化自动控制环冷机的速度。
4 自动化控制系统
全厂主工艺生产线采用电器、仪表、计算机三电一体化的自动化控制系统,完成生产线上各种工艺参数的集中控制和检测。控制范围包括烧结主工艺设施和主要辅助设施。系统设计为二级网络结构:一级为基础自动化级,二级为过程控制级。系统采用当前流行的PLC控制站加现场总线的分布式结构,以工控机作为操作站和工程师站,整个系统为l组5从,即烧结系统和配料系统为主控,自动配水、智能干油集中润滑、气力输送等为控制系统的从控。对整个生产过程的参数采集、数据处理、画面显示、超限报警、打印报表、及生产过程中的设备的启停与连锁控制,及设备的运行状态监视等实现了集中自动化控制管理,从而实现了全厂生产操作的高度自动化,为优质、高产提供了重要条件。
5 环境保护
为减少废气、烟气对厂区及周边环境的污染,设计上采用了先进的环保措施,以保证生产、建设、环境治理同步。
5.1 除尘系统
B265 m2烧结机生产线机头、机尾、整粒、配料均采用高效的电除尘设备;熔剂破碎、焦粉破碎、成品运输系统采用布袋除尘。各个除尘点的除尘能力充裕,排放烟气中的颗粒物达到国家要求的标准。对于烧结机烟气的脱硫,设计时已充分考虑,预留了烧结机脱硫装置的安装位置和空间。
5.2水系统
设备的冷却水采取厂内循环,通过冷却塔冷却后由循环泵泵出循环使用。清扫环境卫生、冲洗地面产生的污水,回收后集中流入污水池,由污泥泵进入生石灰消化器再利用。
6 结 论
八钢B265 m2烧结机依靠自己的力量设计建造,在设计中借鉴、采用了许多国内外同类烧结机的行之有效、成熟可靠的先进技术。同时结合自己的实际情况,吸收一期建设生产过程中的经验,不断摸索、改造,使得该烧结机在工艺设计、设备配置、环保措施等方面均达到了国内先进水平。
参考文献
1 烧结设计手册.北京:冶金:工业出版社,1990
2 矿冶工程(论文集).长沙,1992

延伸阅读
- 上一篇:设备维护与故障处理 下一篇:三钢2#烧结机烟道废气余热的选择性利用

加入收藏
首页




